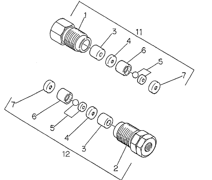
1. Remove the check valve assembly from the pump head.
2. Put some acetone in a small beaker. Over the beaker of acetone, fasten a column end plug to the assembly. The end plug will help to push out the inside parts into the beaker of acetone. DO NOT TOUCH any of the inside parts (parts #3–#7, shown in the right figure) with your fingers. Use tweezers to handle them. (The ENO-20’s check valve assembly is a Black PEEK made, not stainless steel made as shown in the picture.)


3. Assembling. Assemble as the smooth face of the seat ring faces to the ball (#5). The parts #7 is reversible. Put the #7 on the table and insert all other parts in the case which is #1 or #2, the nut. Then push the case against the #7.